ADINA

  • 不同间距设置芯柱-纤维石膏速成板组合墙体抗震性能有限元分析

    在对不同间距设置芯柱-纤维石膏速成板组合墙体试验研究的基础上,利用 ADINA 有限元软件建立不同间 距灌芯形式组合墙体的三维有限元模型,结合试验结果验证有限元计算模型的合理性,分析组合墙体的变形破坏特征 和抗震性能.通过对组合墙体的数值模拟计算,讨论混凝土灌芯情况和墙体高宽比对组合墙体承载力的影响,结果表 明:增加钢筋混凝土芯柱的数目可以有效加强组合墙体的抗侧承载力,组合墙体的破坏模式由弯剪破坏向剪切破坏转 变;随着高宽比的增大,组合墙体的开裂荷载和极限承载力降低.

    2024-12-18 iGeo

  • 不同赋层条件下盾构隧道双向地震波激励响应分析

    以广州地区地层情况为条件,研究盾构隧道在双向地震波激励作用下的横向地 震响应特性,利用有限元软件 ADINA 的弹簧阻尼单元模拟粘弹性人工边界,有效地分析结构 - 地基的动力相互作用问题。对盾构隧道在地震作用下衬砌结构的应力场与位移场进行数 值模拟计算,分析衬砌结构的稳定性和变形,并对计算结果进行了对比研究。

    2024-12-18 iGeo

  • 不同侧压力系数隧道二次衬砌的有限元分析

    对混凝土衬砌支护结构进行受力分析, 利用混凝土等效弹性系数模式下的本构关系, 采用有限元计算程序 ADINA 进行模拟分析, 得出了当采用三心拱形支护结构时, 在侧压力系数 K由小到大变化过程中, 二次衬砌的承载力变化情况。

    2024-12-12 iGeo

  • 波浪作用下填筑式进海路基于ADINA的有限元分析

    流体基于 N-S方程,采用 VOF 方法追踪自由面;固体结构采用有限单元法,应用 ADINA 软件的流固耦合功能,分别数值模拟了波浪作用下3种不同护面型式的填筑式进海 路的受力和变形。通过分析护坡型式对填筑式进海路所受波浪作用的影响,得出整体斜坡式 进海路受到的波浪力及位移相对最小,同时复式坡面进 海路比单一坡面 的进 海 路 消 浪 效 果好。

    2025-05-26 iGeo

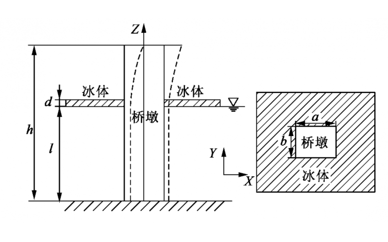
  • 冰体边界范围对桥墩地震反应的影响研究

    在考虑冰-水-桥墩流固耦合的基础上,利用有限元分析软件 ADINA,研究了不同水深和不同类型地震等条件下,桥墩 周围固结海冰的边界范围对桥墩地震反应及动水压力的影响。结果表明: 墩身位移和加速度、墩底最大弯矩和剪力随着冰体 边界范围的增大而增大,但水深超过桥墩高度的 4 /5 时,冰体边界范围对墩身位移和加速度基本无影响。同时,桥墩侧面动水 压力也随着冰体边界范围的增大而增大,且增大程度越来越显著。另外,与冰体边界范围为桥墩横截面尺寸 30 倍时相比,冰 体边界范围为桥墩横截面尺寸 40 倍时墩底最大弯矩和剪力可增大 332. 34% 和 245. 20% 以上,因此,在进行冰水域桥墩抗震 设计时应着重考虑冰体边界范围为桥墩横截面尺寸 30 倍以上的冰体对结构地震反应的影响。

    2024-12-12 iGeo

  • LNG储罐预应力混凝土外罐应力分布与裂缝形态

    LNG 储罐的外罐主要是由预应力混凝土建造而成,混凝土作为一种复杂的非线性材料,其受 力特点为抗压不抗拉。应用 ADINA 有限元软件,建立钢筋混凝土分离式模型,通过应力云图及裂 缝开展图,研究 LNG 储罐在正常使用状态及内罐完全泄漏状态下预应力混凝土的应力分布、裂缝开 展情况及破坏形态。结果表明:在正常使用状态下,外罐上下两固定端第一主应力最大;在内罐泄漏 状态下,底部约 1/4 高度第一主应力最大,此三处为外罐最易产生裂缝的部位,破坏形态均为混凝土 受拉破坏。研究结果为国内 LNG 储罐的自主设计与建造提供了理论依据。

    2024-12-12 iGeo

  • 背后山古滑坡对汉源老县城震害的影响

    通过对背后山地形地貌、地层岩性、地质构造等进行了野外考察,揭示了背后山发育的古滑坡,圈定了古 滑坡周界,分析了汶川地震对背后山古滑坡的影响。利用有限元软件 ADINA 估算了背后山古滑坡的卓越周期, 并与汉源老县城附近的强震记录的卓越周期进行了对比,发现可能出现了共振现象。最后探讨了背后山古滑坡对 汉源老县城建筑物震害的影响。

    2024-12-12 iGeo

  • 北盘江特大桥大体积承台混凝土温控分析与监测

    水盘高速公路北盘江特大桥为5×30+82.5+220+290+220+82.5+7×30m 预应力混凝土空腹(斜腿)式连续刚构,主跨290m 按常规高标号混凝土(C55)施工目前属世 界第一。主墩承台为28m×28m×5m,属典型的大体积混凝土块体,其所处地理位置环境 复杂,昼夜温差极大,在施工中,对大体积混凝土的温度控制和裂缝控制难度较高。笔者采用 大型有限元软件 ADINA 分析了温度应力分布,分析了环境温度变化以及分层浇筑对混凝土 温度的影响,并采用了有效的温控措施,在施工过程中全面监测,通过减小混凝土内外温差、 降低外界条件对混凝土变形约束,成功地完成了承台大体积混凝土的施工,积累了复杂地形、 多变环境下的现场施工经验。

    2024-12-12 iGeo

储罐的动特性分析